Пункт коммерческого учета электроэнергии типа ПКУ-6 (10) предназначен для учета активной и реактивной энергии прямого и обратного направления в цепях переменного тока напряжением 6, 10 кВ, частотой 50 Гц; и так же для использования в составе автоматизированных систем контроля и учета электроэнергии (АСКУЭ) для передачи измеренных и вычисленных параметров на диспетчерский пункт по контролю, учету и распределению электрической энергии.
Второй вариант установки ПКУ - на отпайке по высокой стороне, но когда граница балансовой принадлежности проходит по стороне 0,4 кВ. Целью данной установки является борьба с хищениями электроэнергии, которые по различным оценкам составляют порядка 30-40% коммерческих потерь электроэнергии.
Комплект ПКУ-6(10) состоит из:- Модуля высоковольтного (ВМ) измерительного в соответствии с опросным листом заказчика- Шкафа учета, сбора и передачи данных (ШУ) в соответствии с опросным листом заказчика- Соединительного кабеля- Ограничителей перенапряжения в соответствии с опросным листом заказчика- Монтажный комплект- Эксплуатационные документы в составе:- Паспорт;- Техническое описание и инструкция по эксплуатации;- Паспорта на основные комплектующие изделия, на которые предусмотрена предприятием-изготовителем поставка этих документов комплектно с изделиями
|
Наименование характеристики |
Значение параметров |
|
Номинальное напряжение (линейное), кВ |
6; 10 |
|
Наибольшее рабочее напряжение, кВ |
7,2; 12 |
|
Номинальный ток вторичных цепей, А |
5 |
|
Номинальный ток главных цепей, А |
50; 100; 150; 200; 300; 600 |
|
Ток термической стойкости, 3с, кА |
12,5 |
|
Сквозной ток короткого замыкания, кА |
32 |
|
Номинальный ток электродинамической стойкости главных цепей(амплитуда), кА |
31,5 |
|
Уровень изоляции по ГОСТ 1516.3-96 |
нормальная |
|
Класс точности прибора учета |
0,5; 0,5S |
|
Срок службы устройства, лет |
25 |
|
Масса ПКУ(не более) , кг |
350 |
Согласно ПУЭ, коммерческий учет электроэнергии должен осуществляться на границе балансовой принадлежности между различными субъектами рынка. Отсюда вытекает первый, и наиболее вероятный, вариант использования ПКУ - когда граница балансовой принадлежности проходит по стороне 6-10 кВ (скорее всего это будет первый столб от фидера на отпайке).
Также ПКУ может быть установлен на уже существующую отпайку, где граница балансовой принадлежности проходит по высокой стороне, но из-за отсутствия устройств такого типа, коммерческий учет ведется по стооне 0,4 кВ, что приводит к необходимости расчетов потерь в линиях и трансформаторных подстанциях от стороны 0,4 кВ до границы балансовой принадлежности.
Струкутра условного обозначения

Основные технические данные
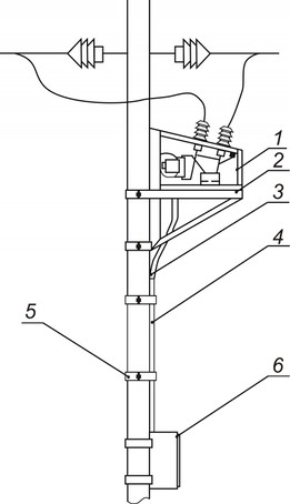
Высоковольтный модуль представляет собой металлический корпус с проходными изоляторами, внутри которого расположены трансформаторы напряжения, трансформы тока, а также ограничители перенапряжений. Предназначен для преобразования тока и напряжения в измерительные сигналы. Для обслуживания предусмотрены двери, расположенных с разных сторон ящика. Подключение главных цепей осуществляется через проходные изоляторы. В качестве измерительных трансформаторов используются типовые трансформаторы ОАО «Свердловский завод трансформаторов тока». По желанию заказчика возможно применение измерительных трансформаторов других типов и марок. Монтаж осуществляется на опорах воздушных линий электропередачи (ВЛ) при помощи монтажного комплекта. В днище предусмотрено отверстие для слива конденсата.
Шкафа учета, сбора и передачи данных предназначен для сбора информации, учета электроэнергии и передачи данных на диспетчерские пункты. Передача данных может быть осуществлена при помощи радиомодема, GSM-модемов или волоконно-оптических модемов по соответствующим сетям связи. Конструктивно цельнометаллический ящик с открывающейся передней дверцей, внутри которого располагается оборудование для учета сбора и передачи данных (счетчик, преобразователи интерфейса, AC/DC преобразователь, устройство передачи данных, и т. п.). Монтаж осуществляется на той же опоре ВЛ что и высоковольтный модуль. Для подключения шкафа учета к высоковольтному модулю используется соединительный кабель который прокладывается в металлическом коробе (трубе).
Ограничители перенапряжений используются для защиты оборудования и повышения помехоустойчивости при коммутационных и атмосферных перенапряжениях.
Общий вид ПКУ

1 - высоковольтный модуль (ВМ)
2 - опора-платформа для ВМ
3 - соединительный кабель (СК)
4 - Труба
5 - кронштейн для крепления
6 - низковольтный модуль (ШУ)
Оставьте заявку на продукцию и мы свяжемся с вами в ближайшее время.